欢迎进入山东天合环境科技有限公司网站!
13276363312
更新时间:2026-04-09
点击次数:144
云境天合防爆气象仪是什么:专为矿山、化工等易燃易爆场所打造的气象设备【型号:TH-WFB5,物联网一体化设备,云境天合支持定制服务】在炼油厂、化工厂等易燃易爆场所,气象条件的变化直接影响着安全生产与风险防控。云境天合防爆气象仪通过集成高精度传感器与多重防爆设计,专为环境打造,可实时监测风速、风向、温度、湿度、大气压力等关键气象参数,为工业生产构筑安全屏障。其防爆外壳采用高强度合金材质,内部电路采用本质安全型设计,有效隔绝电火花与高温引发的爆炸风险,确保在氢气、甲烷等爆炸性气体环境中稳定运行。设备内置智能分析系统,当监测到风速突变或温度异常升高时,立即触发声光报警,并通过无线传输模块将数据同步至中控平台,辅助管理人员快速调整通风策略、启动降温系统或疏散人员。例如,在储罐区,气象仪可精准捕捉风向变化,预警可燃气体扩散路径,为应急处置争取关键时间;在密闭车间,实时湿度监测可防止静电积聚,降低爆炸风险。

一、产品简介
我司作为专业研发生产销售一体化防爆气象传感器的企业,一直致力于微型气象仪和气象环境解决方案推广应用。具有完整的生产链、实力雄厚的技术团队和全面的营销团队,我们研发生产的超声波防爆风速风向仪、防爆五要素微气象仪等气象产品,已广泛应用到化工厂、油库、隧道、矿井等领域,客户遍布全国各地,并取得了良好的社会效益和经济效益。
与传统的微型气象仪相比,我司产品克服了对高精度计时器的需求,避免了因传感器启动延时、解调电路延时、温度变化而造成的测量不准问题。
WFB5型防爆五要素微气象仪创新性地将风速、风向、温度、湿度、大气压力通过一个高集成度结构来实现,可实现户外气象参数24小时连续在线监测,通过数字量通讯接口将五项参数一次性输出给用户。
二、产品特点
1、顶盖隐藏式超声波探头,避免雨雪堆积的干扰,避免自然风遮挡☆
2、原理为发射连续变频超声波信号,通过测量相对相位来检测风速风向☆
3、风速、风向、温度、湿度、大气压力五要素一体式☆
4、采用先进的传感技术,实时测量,无启动风速☆
5、抗干扰能力强,具有看门狗电路,自动复位功能,保证系统稳定运行
6、高集成度,无移动部件,零磨损
7、免维护,无需现场校准
8、采用ASA工程塑料室外应用常年不变色
9、产品设计输出信号标配为RS485通讯接口(MODBUS协议);可选配232、USB、以太网接口,支持数据实时读取☆
10、可选配无线传输模块,最小传输间隔1分钟
11、探头为卡扣式设计,解决了运输、安装过程松动不准的问题☆
三、技术参数
1、风速:测量原理超声波,0~60m/s(±0.1m/s)分辨率0.01m/s;
2、风向:测量原理超声波,0~360°(±2°);分辨率:1°;
3、空气温度:测量原理二极管结电压法,-40-60℃(±0.3℃),分辨率0.01℃;
4、空气湿度:测量原理电容式,0-100%RH(±3%RH),分辨率:0.1%RH;
5、大气压力:测量原理压阻式,300-1100hpa(±0.25%),分辨率0.1hpa;
6、生产企业具有ISO质量管理体系、环境管理体系和职业健康管理体系认证☆
7、生产企业具有计算机软件注册证书☆
8、生产企业为3A信用企业☆
9、生产企业具有Ex ia IIC T6 Ga高等级防爆证书☆
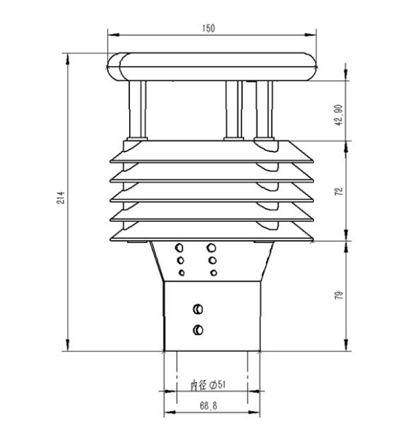
四、产品尺寸图
五、产品结构图

1、控制电路
2、指北箭头
3、超声波探头
4、百叶箱
5、温度、湿度、气压监测位置
6、底部固定法兰
※此产品可选配电子罗盘、GPRS(内置)/GPS(二选一)
六、产品接线定义
VCC:棕色,GND:黑色,485A:绿色,485B:蓝色
七、法兰盘固定方式
1、微气象仪
2、固定螺钉
3、通信电缆+航插
法兰盘尺寸