欢迎进入山东天合环境科技有限公司网站!
13276363312
更新时间:2026-04-03
点击次数:246
防爆气象五参数仪产品优势—在各种恶劣环境下稳定运行,满足不同行业的需求【型号推荐:TH-WFB5,气象环境监测仪器设备生产厂家,云境天合支持商家定制服务,设备选择山东云境天合您放心】防爆气象五参数仪是一种专为易燃易爆环境设计的气象监测设备,能够实时、准确地测量并记录温度、湿度、大气压力、风速和风向五个关键气象参数。五参数监测能够同时监测温度、湿度、大气压力、风速和风向五个关键气象参数,提供全面的气象信息。防爆性能采用特殊的防爆设计和材料,如防爆外壳、隔爆与本安双重防护设计等,确保在易燃易爆环境中能够安全运行,防止火花或电弧引发爆炸。高精度测量配备高精度传感器和稳定的数据采集技术,能够实时、准确地测量气象数据,满足各种应用要求。数据记录与存储具备数据记录和存储功能,单机版数据存储容量大,可存储不少于50万条数据,满足长期监测需求。实时监测与报警能够实时采集、显示和报警监测数据,在超过预设阈值或发生异常情况时发出警报,通知相关人员及时采取措施。支持远程监控功能,用户可以通过网络远程访问监控设备,实时查看气象数据和设备状态,提高运维效率。

一、产品简介
我司作为专业研发生产销售一体化防爆气象传感器的企业,一直致力于微型气象仪和气象环境解决方案推广应用。具有完整的生产链、实力雄厚的技术团队和全面的营销团队,我们研发生产的超声波防爆风速风向仪、防爆五要素微气象仪等气象产品,已广泛应用到化工厂、油库、隧道、矿井等领域,客户遍布全国各地,并取得了良好的社会效益和经济效益。
与传统的微型气象仪相比,我司产品克服了对高精度计时器的需求,避免了因传感器启动延时、解调电路延时、温度变化而造成的测量不准问题。
WFB5型防爆五要素微气象仪创新性地将风速、风向、温度、湿度、大气压力通过一个高集成度结构来实现,可实现户外气象参数24小时连续在线监测,通过数字量通讯接口将五项参数一次性输出给用户。
二、产品特点
1、顶盖隐藏式超声波探头,避免雨雪堆积的干扰,避免自然风遮挡☆
2、原理为发射连续变频超声波信号,通过测量相对相位来检测风速风向☆
3、风速、风向、温度、湿度、大气压力五要素一体式☆
4、采用先进的传感技术,实时测量,无启动风速☆
5、抗干扰能力强,具有看门狗电路,自动复位功能,保证系统稳定运行
6、高集成度,无移动部件,零磨损
7、免维护,无需现场校准
8、采用ASA工程塑料室外应用常年不变色
9、产品设计输出信号标配为RS485通讯接口(MODBUS协议);可选配232、USB、以太网接口,支持数据实时读取☆
10、可选配无线传输模块,最小传输间隔1分钟
11、探头为卡扣式设计,解决了运输、安装过程松动不准的问题☆
三、技术参数
1、风速:测量原理超声波,0~60m/s(±0.1m/s)分辨率0.01m/s;
2、风向:测量原理超声波,0~360°(±2°);分辨率:1°;
3、空气温度:测量原理二极管结电压法,-40-60℃(±0.3℃),分辨率0.01℃;
4、空气湿度:测量原理电容式,0-100%RH(±3%RH),分辨率:0.1%RH;
5、大气压力:测量原理压阻式,300-1100hpa(±0.25%),分辨率0.1hpa;
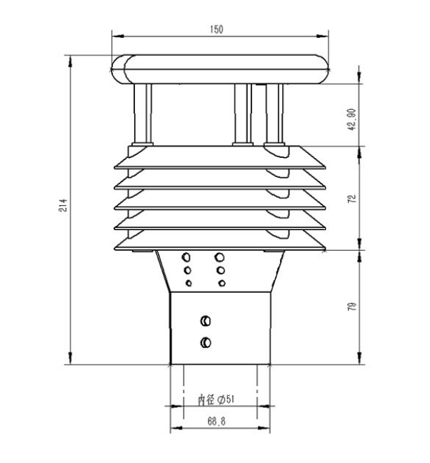
四、产品尺寸图

五、产品结构图

1、控制电路
2、指北箭头
3、超声波探头
4、百叶箱
5、温度、湿度、气压监测位置
6、底部固定法兰
※此产品可选配电子罗盘、GPRS(内置)/GPS(二选一)
六、产品接线定义

VCC:棕色,GND:黑色,485A:绿色,485B:蓝色
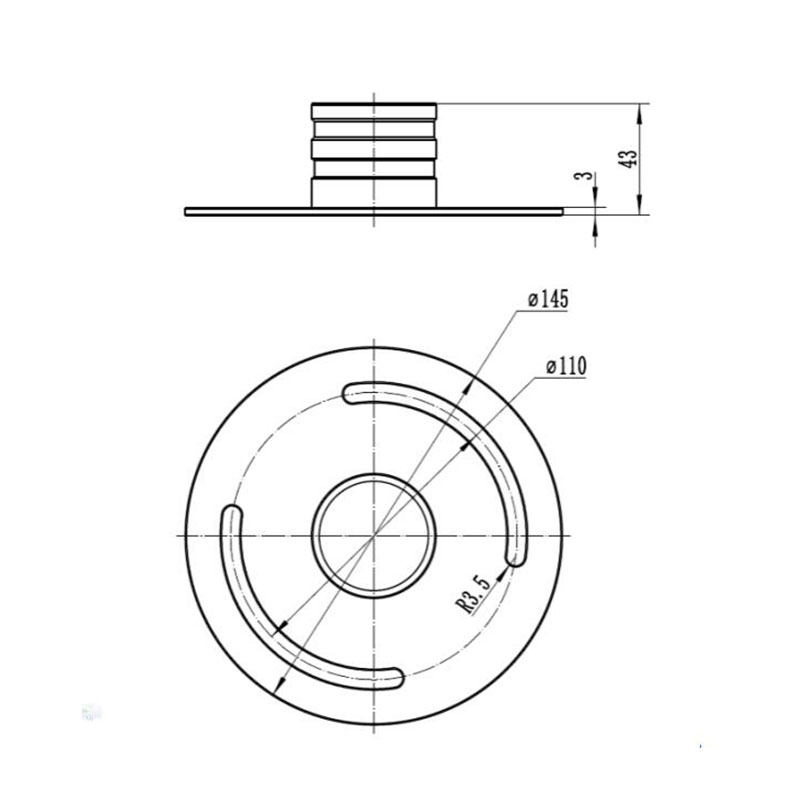
七、法兰盘固定方式
1、微气象仪
2、固定螺钉
3、通信电缆+航插
法兰盘尺寸